视频监控汇聚平台LntonCVS国标GB28181视频平台的优势
通过跨地域多品牌的民用视频网关监控统一的集中管理,LntonCVS视频监控汇聚平台实现了对全国全省、各市各连锁企业、快递物流、智慧工地、多级监管部门的分层分级管理,可以实时监控异地远程视频现状,发生事故时能够远程迅速发现并处理。该平台能够实现多平台、多终端分发RTSP、RTMP、FLV、HLS、WebRTC等格式的视频流,提供视频直播监控、云端录像、云存储、检索回放、智能告警、语音对讲、平台级联等
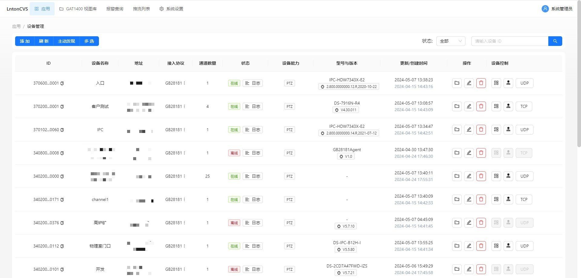
LntonCVS视频监控汇聚平台是一个基于国标GB28181协议的视频监控/视频云服务平台,支持多路设备同时接入。该平台能够实现多平台、多终端分发RTSP、RTMP、FLV、HLS、WebRTC等格式的视频流,提供视频直播监控、云端录像、云存储、检索回放、智能告警、语音对讲、平台级联等多种视频能力与服务,适用于各种不同的场景。

通过跨地域多品牌的民用视频网关监控统一的集中管理,LntonCVS视频监控汇聚平台实现了对全国全省、各市各连锁企业、快递物流、智慧工地、多级监管部门的分层分级管理,可以实时监控异地远程视频现状,发生事故时能够远程迅速发现并处理。此外,它还兼容各类已经安装的摄像头,结合声光、烟雾等报警器联动报警,并在险情时弹出现场报警视频,并保存云录像。
LntonCVS视频监控汇聚平台致力于让视频监控变得更加简单和高效,为用户部署私有云监控和公有云监控整体解决方案,使以视频为核心的智慧物联网深入到各行各业。通过突破跨区域视频监控遇到的问题及技术壁垒,该平台实现了高效的视频传输和数据管理。

采用了H.265二次低码流压缩技术,在公网上传输视频数据,有效降低带宽需求,同时保证视频传输的质量和稳定性。通过将视频数据传输到大数据平台中心,实现了视频监控数据的集中管理和分析,为用户提供更好的流程性和实时性。
LntonCVS视频监控汇聚平台支持从外网云端取流解码和物联网数据上墙,IP流实时解支持H.264/H.265,并且支持本地ONVIF,RTSP等网络流媒体协议,可兼容市面上主流品牌网络摄像机(IPC),NVR,视频流媒体服务器等;单个网口最大支持72路D1/32路720/18路1080P/4路4K解码。此外,它还支持手机,平板电脑,笔记本电脑屏幕镜像投屏功能。

LntonCVS视频监控汇聚平台具有灵活且丰富的视频能力,涵盖所有监控领域的视频接入、处理、分发及数据共享需求。它既可以作为业务平台直接使用,也能作为视频能力平台进行调用。总之,LntonCVS视频监控汇聚平台是一个非常强大且实用的工具。
更多推荐

所有评论(0)